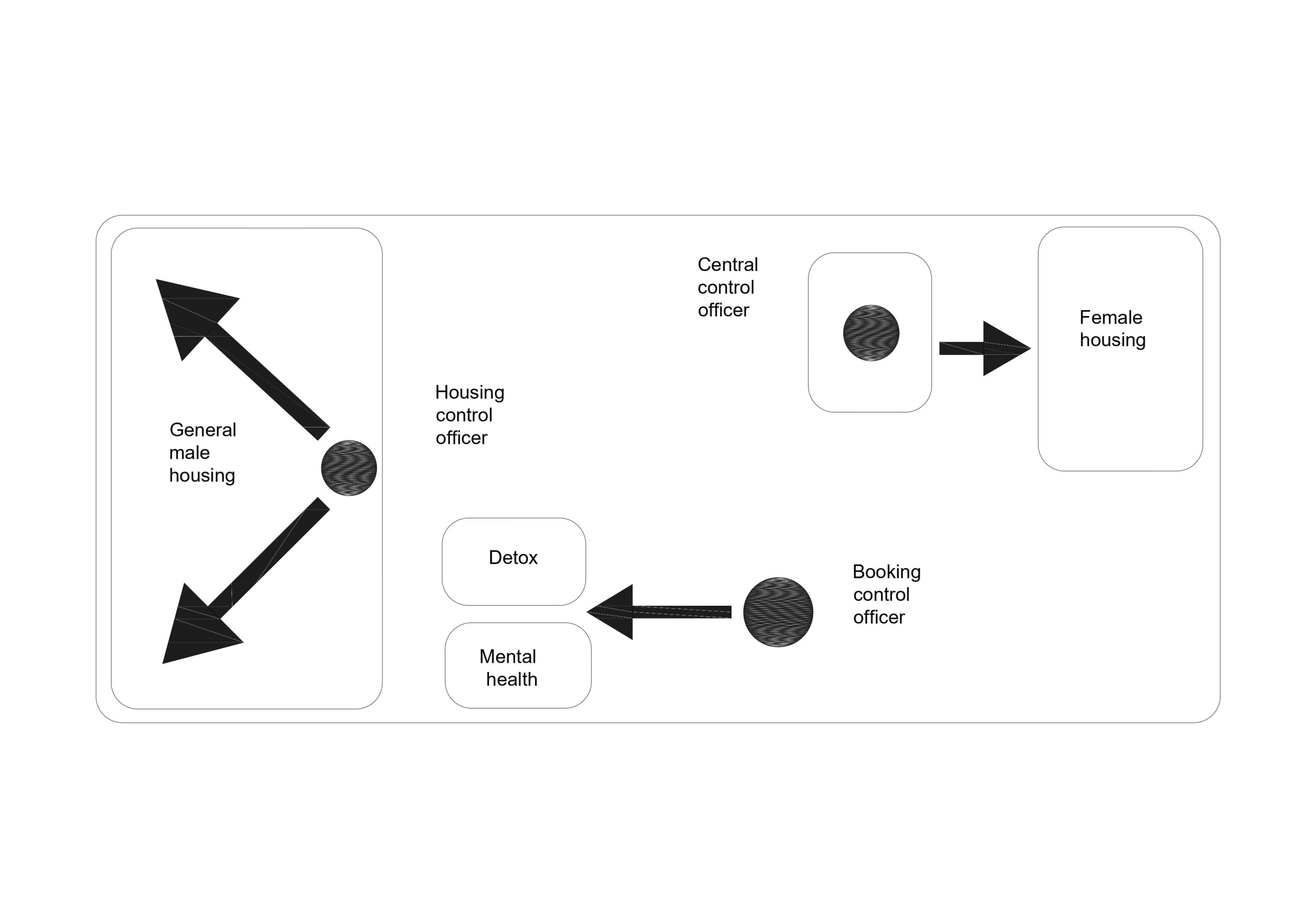
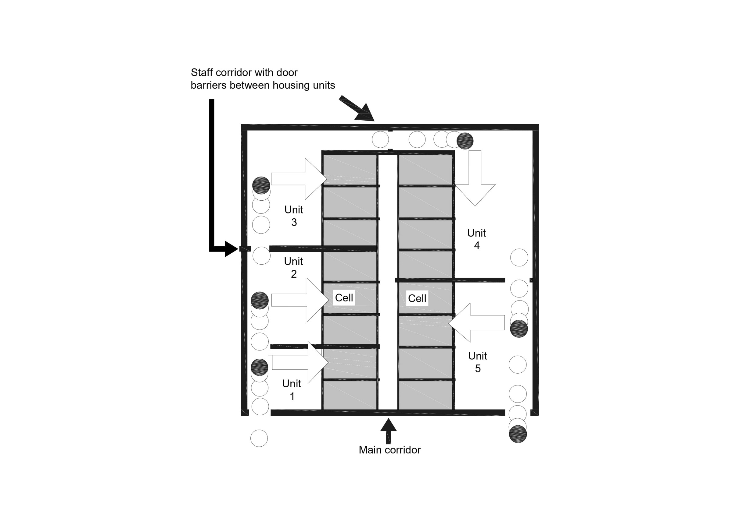
Jails
|
Surveillance and supervision
Item Saved
Item Removed








